荆楚网消息(记者彭烨炜 通讯员杨卫平、朱倩倩)经常用铅笔的学生们可能会因为一件事情而烦恼,那就是小小的橡皮擦会因为体积小且轻而不知道掉落在哪个地方。5月8日,记者从华中农业大学楚天学院获悉,该校国际经济与贸易专业大二学生喻延历时半年发明了一种会发声的橡皮擦套,有望改变橡皮擦掉地上不好找的情况。

专利证书
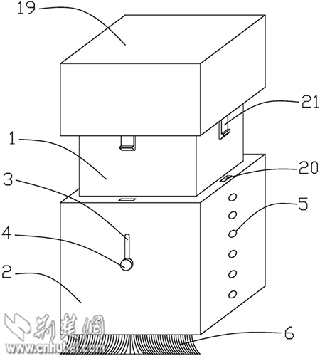
这种会发声的橡皮擦套壳内部设置有移动机构,可以根据橡皮的使用情况调节支撑板,使露在套壳外的橡皮长度适度,防止橡皮过长造成浪费,橡胶材料的套壳,起到抗震缓冲的作用,保护延迟电路,避免损坏电铃。
这个橡皮擦是通过在普通橡皮外添加一个橡胶材料的套壳,并安装有电铃提醒装置,当掉落后会发出声音提醒,防止丢失。套壳上设置有清洁装置,当使用橡皮后可以移动推动块,用软毛刷进行清洁,可以根据需要调节横梁,直到合适的位置,再通过软毛刷将擦屑清理,使用非常便捷。

主结构示意图:1—橡皮 2—套壳 3—限位槽 4—推动块 5—第一限位孔 6—软毛刷 19—套盖 21—卡扣
“有一次上高中的弟弟到自己家做作业,橡皮擦掉到地上,由于房间很暗,怎么都找不到。”谈起发明初衷,喻延笑了,“以前觉得发明是离我很遥远的事情,没想到因为这点小事,我也能获得发明专利。”
“橡皮擦还没有实物,之前有广东一个厂商找到我希望买下专利,但是双方没谈拢,就没有合作。”喻延坦言现在没有过多时间和精力放在成果转化上,“有合适的机会还是会投入市场。”
(作者: 编辑:苏金远)